Keyboard
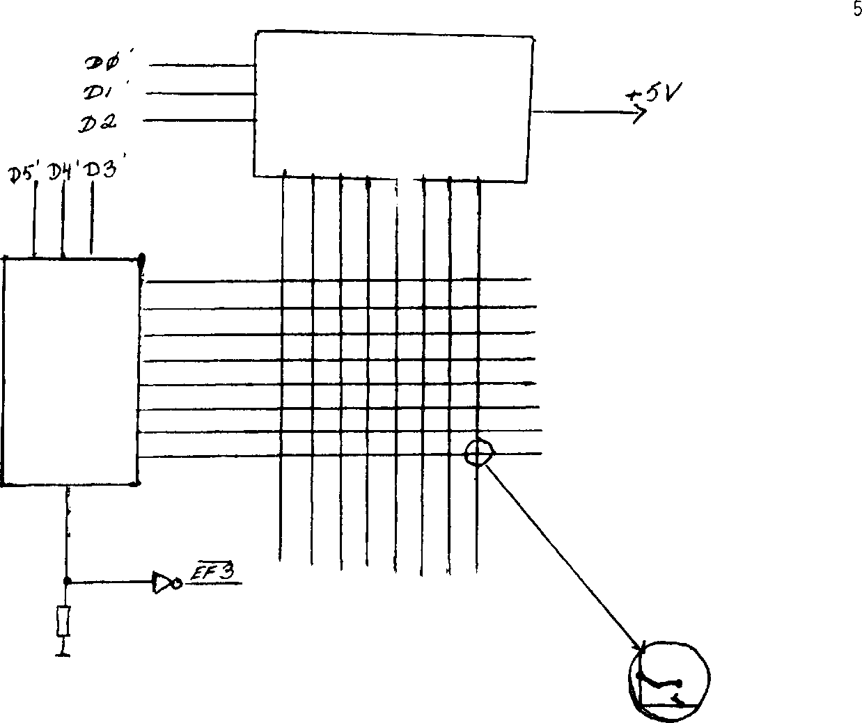
The Telmac 2000 uses two CD4051B single 8 channel multiplexer and two CD4042B quad clocked D latch chips to decode a max of 64 keys. The 2 CD4042B chips are used as buffers to 'store' the 6 lower bits of OUT 2. These bits are used as input to the 2 CD4051B chips (as in figure 1) to create a matrix for the 64 keys. One of the CD4051Bs is also connected to EF3 to give the 1802 the possibility to check if the key representing the last OUT 2 is pressed.
The basic Telmac 2000 only uses the first 2 lines to decode the 16 hexadecimal keys.
For the exact schematics of the keyboard hardware see figure 2. The X 0-7 and Y 0-7 lines are connected to the keyboard matrix in figure 1.

